一、 结构及用途
SN系列室内消火栓是依据GB3445-2005《室内消火栓》标准设计的产品,是室内管网向火场供水的带有阀门的接口,通常安装在消火栓箱内,与消防水带和消防水枪等器材配套使用。具有使用方便、迅速、效率高等特点。适用于工厂仓库、高层建筑、公共建筑及船舶等场所的室内固定消防设施。SN65-A室内消火栓整体材质为铜,性能更加稳定可靠,美观大方,适用于对外观及性能严格要求的场合。
二、 工作原理
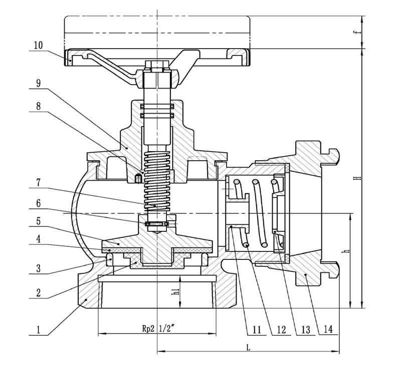
转动手轮,通过阀杆带动阀瓣,顺时针转向为关闭,逆时针转向为开启。
三、 主要构造

四、 主要 规格及性能 参数

五、 使用方法
室内消火栓安装于建筑的明显位置的消防橱柜内,和消防水带消防水枪配套使用。当遇有火警时,迅速打开消火栓箱,取出水带,水枪,将水带一端接在消火栓上,另一端与水枪相接,随即将消火栓手轮顺开启方向旋开,即能喷水扑灭火灾。
六、 安装要求
1. 安装单位应有资质证书,可按《给水排水标准图集》的要求进行安装。
2. 安装时,要注意出水口方向,以便使用时接装水带方便,出水畅通。最好将水枪,
水带与室内消火栓预先连接在一起,灭火时,便于迅速出水。
3. 室内消火栓通常是关闭的,安装完成后按规定进行水压试验,水压试验压力为2.4MPa。
七、 维护保养
1. 室内消火栓在运输及装卸时应注意防雨,避免碰撞和重压。
2. 室内消火栓应储存于干燥通风的室内,防止受潮,不允许倒置,不允许接触有腐蚀性气体。
3. 平时应经常检查室内消火栓是否完好,有无生锈,漏水现象,接口垫圈是否完整无缺。
4. 阀杆上应经常加注润滑油,以防丝杆生锈。
5. 定期进行放水检查,以保证应急时,能开启自如,不影响灭火。

