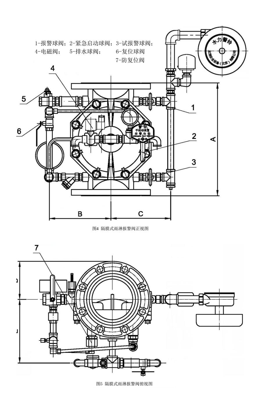
雨淋报警阀与水力警铃、防复位阀、电磁阀和控制腔供水管路、雨淋报警阀开启管路、 报警管路、排水管路、压力表等部件组成。在自动喷水灭火系统中,雨淋阀应用广泛,大量应用于开式系统如雨淋系统、水幕系统、 水喷雾灭火系统。也可以用于闭式系统,如预作用系统。
雨淋报警阀具有以下几个主要功能:
a. 自动接通水源功能;b. 自动报警功能;c. 防止阀瓣的自动复位功能;d. 试验供水设施和报警装置的功能;e. 手动和自动启动功能。
我公司生产的 ZSFM 系列隔膜式雨淋报警阀系统技术成熟,做工精细,制造精良,且具有工作性能稳定,动作灵敏,灭火效率高,可在线维护,使用可靠等优点。被广泛应用于各类应用水灭火的场所,且有多种材质、规格可供选择。
工作原理
雨淋报警阀中有控制腔、供水腔和系统腔。依靠隔膜封住供水腔压力水,控制腔的加压和泄压改变隔膜位置,从而开启或关闭雨淋报警阀。电磁阀动作或打开紧急启动球阀都可以启动报警阀。防复位阀的作用是当控制腔泄压雨淋报警阀开启后,封住控制腔进水通道,防止因控制腔增压雨淋报警阀复位断水,雨淋报警阀需关闭时,打开控制腔进水通道补压,使隔膜复位。防止雨淋报警阀伺应状态时因水压波动开启造成误喷事故。



供水及调试
首次供水操作步骤:
1、关闭雨淋报警阀组全部球阀和雨淋报警阀供水侧和系统侧蝶阀;
2、先打开雨淋报警阀左侧球阀6(复位球阀),再打开供水侧信号蝶阀供水;
3、慢慢打开紧急启动球阀2排气,当有水流出后即关闭;
4、当防复位阀7停止排水,上、下压力表压力平衡时,关闭复位球阀6;
5打开系统排水阀,当无水流出时,关闭系统排水阀;
6、打开报警球阀1和系统侧蝶阀,进入伺应状态。
因火灾启动后或季度调试启动后,阀门复位操作步骤:
1、关闭供水侧蝶阀;
2、将电磁阀复位,关闭手动紧急启动球阀2;
3、打开复位球阀6;
4、打开系统侧排水球阀5,当无水排出时,关闭排水球阀;
5、为防止水进入系统造成误喷,先关闭系统侧蝶阀;
6、打开供水侧蝶阀,观察水力警铃、压力开关,没有报警或压力开关无动作;
7、关闭复位球阀6,打开系统侧蝶阀,系统恢复伺应状态。
安装及使用:
a. 雨淋报警阀组应安装在4℃以上不结冰的场所。
b. 雨淋报警阀组安装位置周围,应留有充分的维修空间,以保证在最短的停机时间内修复。
c. 雨淋报警阀组垂直安装(要水平安装须订货时告知)。安装时注意进出水方向。
d. 雨淋报警阀前必须安装过滤器,保证供水清洁。
e. 雨淋报警阀组两端应安装信号蝶阀。
f. 雨淋报警阀组上的橡胶件—隔膜片,为了防止老化而造成不必要的损失,建议5-6年更换一次。



